近日,我校医学院范威博士积极与企业开展合作并取得突破性进展,其两项实用新型专利以“专利实施许可”的形式授权给徐州达杨生化科技有限公司使用,实现了我校第一例科技成果转化。

(专利实施许可合同)
第一项实用新型专利名称为一种有机化学实验用铁架台(专利号:ZL202020812299.1)。本实用新型公开了一种有机化学实验用铁架台,包括铁架杆、操作台和安装块,铁架杆内轴接有升降机构,升降机构的顶部固定安装有摇杆,升降机构的外壁上固定安装有转动板,通过施加任一方向的旋转作用力于摇杆,驱动升降机构带动转动板进行垂直方向上的直线运动,转动板的两端分别安装有插接机构,操作台的底部对称设有吸盘,且吸盘底部端口与桌面之间形成密封腔,按压吸盘用于施加作用力于操作台顶部使密封腔内部气体受压挤出。本实用新型提供的有机化学实验用铁架台,利用摇杆控制升降,使转动板铁圈进行垂直方向上的直线运动,并且通过插接机构固定铁圈或夹具,并且在操作台上设置了固定机构,防止实验过程中铁架台倒塌(图2)。


(实用新型专利1的证书和说明书)
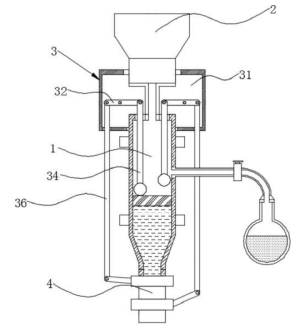
第二项实用新型专利名称为一种有机化学实验用分水器(专利号:ZL202020799179.2)本实用新型公开了一种有机化学实验用分水器,包括集液管和冷凝管,至少活动设置在集液管内部的两个浮球连接机构,其中一个浮球连接机构活动设置于预定最低水位处,另一个浮球连接机构活动设置于预定最高水位处,集液管的出水口固定连通有出水阀,出水阀内部设有与浮球连接机构相配合控制开合用的转动臂一和转动臂二。本实用提供的有机化学实验用分水器,能够实现根据集液管内部液体液面的高度来调节集液管下方旋塞出水量,能在反应完成以后自动关闭集液管下方旋塞,能够根据集液管内部液面高度控制下方旋塞出水量和在反应完成以后自动关闭旋塞、停止出水,在教学时能方便老师进行讲解和便于学生操作,减少了学生的误操作(图3)。


(实用新型专利2的证书和说明书)
自我校成为安徽省技能型高水平大学立项建设单位以来,学校高度重视科技成果转化和技术转移工作,积极树立“专利等科技成果只有转化才能实现价值,不转化就是最大损失”的理念,突出转化运用导向不断完善成果转化机制。以上两项成果的转化,推动我校优秀科技成果走出实验室,走向生产线,转化为现实生产力,很好地将科学研究融入到教师成长全过程中,初步构建了校企协同创新、创新反哺教育的核心路径,推动形成教育、科研、产业深度互动的新格局、新生态。(图/文:范威 初审:周明月 复审:徐旭 终审:毕璧)